Teleprinter AN/UGC-143A

ugc143a-ad-1988.jpg (1639677 bytes) printer (RP-361/UGC-143A) and keyboard (TT-834/UGC-143A)

IMG_1440.JPG (5813069 bytes)

controller (C-12009/UGC-143A) and magnetic tape bulk storage (MU-975/UGC-143A)

ugc143-tape-cv41-01.jpg (2352690 bytes)

mug-ugc143-2212.jpg (134835 bytes)
C-12009 Control Unit
IMG_1453.JPG (4982765 bytes) IMG_1439.JPG (5434875 bytes) IMG_1437.JPG (5644430 bytes)
J1 - AC Power
J2 - Mag Tape Unit
J3 - Paper Tape Reader/Punch
J4 - Printer/Keyboard Unit
J5 - Data Port
J6 - Crypto Unit
IMG_1438.JPG (5239559 bytes)
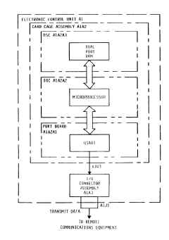
DSC - Data Storage Controller board
IMG_1466.JPG (6084599 bytes)
IOC - I/O Controller board
IMG_1467.JPG (5700444 bytes)
Port board
IMG_1468.JPG (6297083 bytes)
==
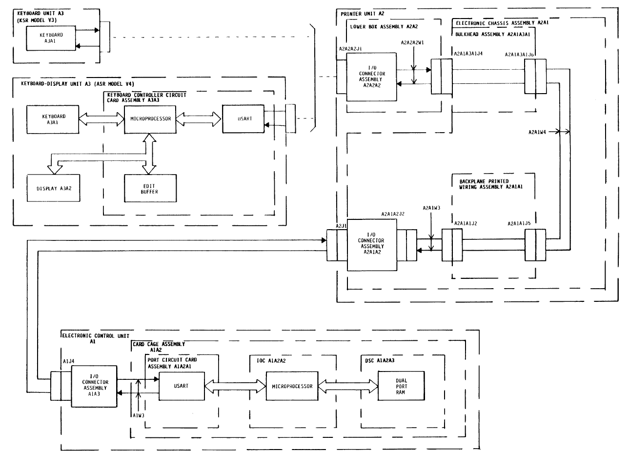
RP-361 Printer Unit and TT-834 Keyboard-Display Unit
IMG_1440.JPG (5813069 bytes) IMG_1441.JPG (4059235 bytes) IMG_1442.JPG (3362593 bytes) IMG_1450.JPG (5281991 bytes)
IMG_1451.JPG (5122921 bytes) removable keyboard
IMG_1452.JPG (5011493 bytes)
Keyboard circuit boards
IMG_1461.JPG (4082877 bytes)

 

Keyboard processor board
IMG_1460.JPG (6446532 bytes)

 

Keyboard power-on test
IMG_1463.JPG (6251650 bytes)
"please wait" keyboard not found
IMG_1465.JPG (5706832 bytes)
IMG_1443.JPG (5612133 bytes) IMG_1444.JPG (6095224 bytes)
Printer rear
IMG_1445.JPG (4495742 bytes)
printer circuit boards
IMG_1446.JPG (5380954 bytes)
printer circuit boards
IMG_1447.JPG (6239543 bytes)
J2-printer-1454.JPG (2290718 bytes)
message generation
message-generation-01.jpg (251705 bytes)

message printing
message-printing.jpg (268258 bytes)

message storage
message-storage.jpg (163315 bytes)
message reception
message-reception.jpg (109262 bytes)
message transmission
message-transmission.jpg (83352 bytes)
From a 1995 report
The Navy Standard Teleprinter (NST) program started in October 1989 to replace outdated and insupportable Model 28 teletypes throughout the Fleet. The NST greatly enhances past generation teleprinter capability with higher speed, greater storage, better reliability, and easier maintenance. The procurement of NST teletypes has been completed and OPNAV (N61) is addressing requirements for the follow-on generation of NSTs. Navy-wide feedback to date for future teleprinter requirements are that computer word-processors and commercial printers will satisfy all future needed capabilities. The program plan for submarine teleprinters is to transition to these future capabilities from present UGC-136 series teleprinters.

AN/UGC-143(V) Teleprinter. The AN/UGC-143(V) U.S. Navy Standard Teleprinter (NST) is a fully militarized unit. It features a modular design providing the compatibility for several different configurations: receive only with or without bulk storage; send/receive without bulk storage using the keyboard; or send/receive automatically with bulk storage. It prints 150 characters per second, ten characters per inch, six lines per inch and is capable of storing 500 kilobytes (250 messages, 2 kilobytes each). The power requirements are 115 V ac, 47-63 Hz, 440 watts, single phase. It weighs 180 pounds.

   The NST is a militarized unit, has an automatic send/receive (ASR) configuration, and is normally employed in shipboard applications. The NST consists of an electronic unit, printer unit, keyboard/display unit, and bulk storage unit. The NST’s modular design makes it useable in several different configurations, including receive only (with or without bulk storage), send and receive without bulk storage using the keyboard, or send and receive automatically with bulk storage. It is capable of operation in several different modes, including simplex, HDX, FDX, asynchronous, synchronous, Baudot, and ASCII. The NST throughput is 126 characters per second based on 80-character lines, including single-line advances. It line prints data at nominally 180 characters per second. It can transmit or receive data rates from 45.5 to 2400 bps Baudot and 45.5 to 9600 bps ASCII. The various configurations provide for information preparation, editing, printing, receiving serial data, buffering of information in volatile memory, and information storage (archiving).

The AN/UGC-143A(V) Navy Standard Teleprinters (NSTs) have replaced most of the Model 28 teleprinters. The NST is designed for shipboard (both surface and subsurface) and shore station applications. 
   The NST is a high-speed electronic teleprinter that automatically accepts and processes transmissions from 45.5 baud up to 9600 baud. It prints 120 characters per second (1200 WPM). It is composed of several modules selectively connected to form the various configurations (configurations are discussed shortly). The NST may be used either as a tabletop unit or slide-mounted in standard equipment racks. 
   There are four versions of the AN/UGC-143A Teleprinter: the AN/UGC-143A(V)l receive only-1 (RO1) teleprinter (fig. 1-32), AN/UGC-143A(V)2 receive only-2 (RO2) teleprinter (looks the same as an RO1), the AN/UGC-143A(V)3 keyboard send-receive (KSR) teleprinter (fig. 1-33), and the AN/UGC- 143A(V)4 automatic send-receive (ASR) teleprinter (fig. 1-34). The various NST configurations consist of combinations of one or several modules, such as the electronic module, printer module, keyboard module, keyboard/display module, or the bulk storage module. All four configurations contain basic electronics and printer modules. Only the RO2 and the ASR teleprinters contain a bulk storage module. Of the two keyboard configurations, the KSR has a standard keyboard, while the ASR has a Liquid Crystal Diode (LCD) single line display window.
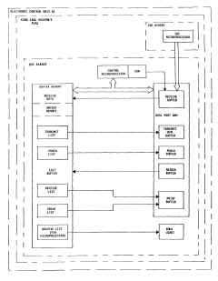
   The electronic module controls the functional operations of the NST and provides temporary storage of all transmitted and received information. It contains a message buffer memory, message segmentation logic, message routing logic, communication port, crypto port, and power supply. The buffer compensates for varying baud rates and holds incoming traffic until the entire message has been received, and then sends it to the printer. 
   The printer module contains the printer mechanism, printer electronics, printer buffer, status indicator, system setup switches, and power supply. All received or transmitted information may be automatically printed. The operator can interrupt the printing mode without losing incoming message traffic to print directory information or internal systems test results. A dot-matrix print mechanism is capable of printing line lengths up to 80 characters at a speed of 120 characters per second (1200 WPM). (Until all Model 28 teleprinters have been replaced ashore and afloat, only 69 characters are allowed in a single message line.) Operator-selected, single- or double-line spacing modes are available. The printer uses either friction- feed nonperforated or tractor-feed perforated fan-fold paper. It is capable of accommodating single-ply paper or five-ply paper. 
   The keyboard module contains the basic complement of keys needed to send characters, release tape reader input, and perform tape editing. Another variation of the keyboard module includes a one-line (80-character) LCD display and special function keys that help the operator in message preparation and correction (fig. 1-35). The gray shaded keys are command or edit functions. Many of the remaining keys contain message functions, accessed by holding down the "shift" key as the function is depressed. Notice that the keyboard contains carriage return (CR), line feed, letters (LTRS), and figures (FIGS) keys, similar to the older Model 28 keyboards. 
   The bulk storage module contains the tape drive, drive electronics, message file logic, bulk storage buffer, function control switches, and power supply. It automatically stores all received and transmitted messages on a removable data cartridge. This module maintains an archive directory listing (table ofcontents) of all messages stored. The operator can have the table of contents printed or displayed on the keyboard module screen. The table of contents lists the messages in date-time group order and includes the originator, NAVCOMPARS processing sequence number (PSN), and an access number by which the operator can recall the message from storage. A data cartridge tape can store up to 1,344 messages of 2,000 characters each.
   Operator maintenance on the equipment is limited to changing paper and printer ribbons. Instructions are provided on the inside of the printer case. Radiomen and Electronics Technicians perform all other maintenance. Detailed operator instructions are contained in Operator and Maintenance Instructions Teleprinter Set AN/UGC-143A(V). Specific instructions on the use of special message function keys and composing messages for teletype (or radioteletype) transmission are contained in Communications Instructions, Teletypewriter (Teleprinter) Procedures, ACP-126